
DY-X液壓隔膜計量泵產品概述
DY-X 液壓隔膜計量泵是一種廣泛應用于各種工業領域的流體計量設備。該產品短小精悍,適用于輸送各種腐蝕性和非腐蝕性液體物料。計量泵的核心部件是液壓膜片,采用高強度材料制成,能有效隔離泵體內的液體物料,避免對泵體的直接腐蝕。另外,膜片的振動幅度小,可以保證計量泵在高壓下穩定運行。DY-X液壓隔膜計量泵設計緊湊,結構簡單,維修方便。它體積小,重量輕,便于攜帶和安裝。同時,該產品還具有手動控制、電動控制和自動控制等多種控制方式,可以滿足不同用戶的需求。
在性能上,DY-X液壓隔膜計量泵具有高精度的流量控制能力,能保證輸送各種液體物料時的一致性和穩定性。此外,該產品具有低噪音、低振動、低能耗的特點,可有效降低生產成本和維護成本。
該型計量泵可輸送溫度-30℃-100℃,粘度為0.3-800mm2/s不含固體顆粒等腐蝕性或非腐蝕性液體介質。不同型號的計量泵均可根據用要求裝配變頻電機〔能接收4-20mA電流信號)或防爆電機。泵的型號規格及參數請參考本公司的產品樣本。
液壓隔膜式計量泵常用單聯的獨立參數提供用戶。也可根據用戶需要制造同機座同規格的多聯組合或不同機座不同規格組合。多聯式適用于工藝流程中需多種介質的比例配送。該泵可廣泛用于石油、化工、紡織、食品、造紙、原子能技術、電廠、塑料、制藥、水廠、環保等工業和科技部門。用來向加壓或常壓容器及管道內精確定量輸送不含固體顆粒的液體。其流量可以開機(或定機)時從0-100%范圍內無級調節。〔根據計量泵的特性,最少行程一般不小于總行程的10%〉單缸泵適用于單一液體的場合;組合泵可作比例泵使用,也可并聯使用;泵組合可作為三比例泵使用,也可三泵并聯,以達到較大排量,增高了液體的脈沖頻率,促使液體連續順暢加入。
DY-X型液壓隔膜式計量泵性能參數:
可調計量范圍:0-125L/H
最大壓力承受范圍:0-25MPa
驅動方式:電機驅動
控制方式:手動、自動控制
配置方式:泵頭保溫、冷卻、電機可配防爆
1、與介質直接接觸部位全采用不銹鋼及四氟材質。過流適應一般顆粒,無毒無味。
2、精鑄殼體,耐用,精密澆鑄殼體,鑄銅蝸輪及耐磨球軸承,潤滑油潤滑所有驅動零件。
3、易損部件全部經過特殊化處理,質量保證。
4、內部配置性能卓越的調節器總成,延長泵的使用壽命,并降低了噪音。
5、定量輸出,在泵運行或停止時也可任意調節流量,精密度高可達正負百分之一。
6、吐出壓力最高一款系列可達500KG。
7、適用于輸送溫度為 -30~120℃,粘度為 0.3~800mm2/s 的介質。
| 泵頭部位材料 | 工作條件 |
| 計量泵頭:SUS304、SUS316 | 環境溫度: -30℃ ~-90℃ |
| 計量閥: SUS304、SUS316 | 電機: 二相、三相標準電機或防爆電機 |
| 閥球: 二氧化硅、SUS304、SUS316、陶瓷、氧化鋯 | 功率:0.37KW 0.55KW |
| 密封: 聚四氟乙烯 | 防護等級:IP54 |
DY-X型液壓隔膜式計量泵技術參數:

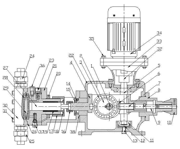
裝配圖:

序號 | 零件名稱 | 件數 |
| 序號 | 零件名稱 | 件數 |
1 | 主軸 | 1 | 20 | 圓螺帽 | 1 | |
2 | 偏心輪 | 1 | 21 | 泵頭聯接頭 | 1 | |
3 | 滾輪 | 1 | 22 | 泵體 | 1 | |
4 | 連桿 | 1 | 23 | 過載閥 | 1 | |
5 | 蝸桿 | 1 | 24 | 排水閥總成 | 1 | |
6 | 蝸輪 | 1 | 25 | 進水閥總成 | 1 | |
7 | 頂桿 | 1 | 26 | 泵頭底座 | 1 | |
8 | 調節器 | 1 | 27 | 柱塞 | 1 | |
9 | 調節桿 | 1 | 28 | 膜片底座 | 1 | |
10 | 手輪 | 1 | 29 | 膜片 | 1 | |
11 | 軸承 | 1 | 30 | 泵頭 | 1 | |
12 | 調節底板 | 1 | 31 | 泵頭螺栓 | 6 | |
13 | 調節螺絲 | 1 | 32 | 傳動接 | 1 | |
14 | 油封 | 1 | 33 | 電機座 | 1 | |
15 | 油封壓板 | 1 | 34 | 電機 | 1 | |
16 | 聯接螺帽 | 1 | 35 | 螺栓 | 4 | |
17 | 填料并帽 | 1 | 36 | 放氣螺絲 | 1 | |
18 | 填料壓板 | 1 | 37 | 補油閥 | 1 | |
19 | 填料 | 1組 | 38 | 密封圈 | 1 |
JYX系列液壓隔膜式計量泵外形安裝尺寸圖:

安裝圖:
注意事項:
1.計量泵使用前請在齒輪箱內加220#媧輪蝸桿油或50#齒輪油至油標,并在液壓油池內加L-HM32-46液壓油至油標。
2.計量泵開機之前一定要確保出口管路通暢(閥門全開〉。
3.計量泵要停止工作時先關閉計量泵,再關閉出口閥門。
4.計量泵電機接線一定要按照電機銘牌的電壓接線(380V或220V)
5.不銹鋼管路接頭焊接時,切不可把焊渣或雜物掉入管路或閥體內(從而會造成計量泵不出水、壓力變小或流量變小)
6.出口管路壓力一定要高于進口管路壓力,如果低于進口壓力,一定要加裝背壓閥, 防止產生虹吸。
7.出口管路口徑一定要大于或等于,相應計量泵的標配口徑。
故障與排除:
故障 | 原因 | 排除方法 |
完全不排液 | 1.吸入高度太高 2.吸入管道阻塞 3.吸入管道漏氣 | 1.降低安裝高度可減少彎頭閥門 2.清洗疏通吸入管道 3.壓緊或更換法蘭墊片 |
排液量不夠 | 1.吸入管道局部阻塞 2.吸入或排出闊內有雜物卡阻 3.充油腔內有氣體 4.充油腔內油量不足或過多 5.補償闊或過載闊漏油 6.泵閥磨損,關閉不嚴 7.轉數不足 | 1.清洗疏通吸管道 2.清洗吸排闊 3.人工補油使安全闊跳開排氣 4.經補償并作人工補油或排油 5.對闊進行研磨 6.修理或更換闊件 7..檢査電機和頻率 |
排出壓力不穩定 | 1.吸入或排出闊內有雜物卡住 2.液壓隔膜式限制板或排出管連接處漏油 3.過載闊或補償闊動作失靈 | 1.清洗吸排闊 2.擰緊連接外螺釘 3.按安全闊補償闊組的調試方法進行調整 |
計量精度不夠 | 1.充油腔內有殘余氣體 2.過載閥或補償動作失靈 3.柱塞密封漏液 4.液壓隔膜式片發生永久性變形 5.吸入或排出闊磨損 6.電機轉速不穩定 | 1.經較長時間運營后氣體自然排凈 2.補償闊堵塞或過載闊彈簧折斷,檢査修正后按過載闊補償闊組的調試方法進行調整 3.更換缸套與活塞環 4.更換液壓隔膜式片 5.更換新件 6.穩定電源頻率和電壓 |
運轉中有沖擊聲 | 1.傳動零件松動或嚴重磨損 2.吸入高度過高 3.吸入管道漏氣 4.液壓隔膜式腔內油量多 5.介質中有空氣 6.吸入管徑太小 | 1.擰緊有關螺絲或更換新件 2.降低安裝高度 3.壓緊吸入法蘭 4.輕壓補償作人工瞬時排油 5.排出介質中空氣 6.增大吸入管徑 |
輸送介質油污染 | 1.液壓隔膜式片破裂 | 1.更換新件 |
液壓隔膜式計量泵是具有無泄漏高壓力的特點,被廣泛采用于易燃、易爆、易揮發、強腐蝕、放射性、劇毒、懸浮液以及昂貴的液體介質輸送;達到高壓加注液體目的。





